Польская специальная броня, часть IV - CAWA-1/2

2s14.blogspot.com 7 годы назад
Настало время для теоретически заключительной статьи в этой серии. Он был БДД, был ЭРАВА в двух частях, был КЕРАВА и теперь должен был обсудить, возможно, наименее известную броню из всего набора.

Я думал о разделении этой статьи на две части, но многие вопросы настолько связаны, что мне нужно обсудить всю эту тему здесь. Главным героем этой статьи станет семейство керамических доспехов CAWA, которое, как и предыдущие герои, было создано в 1990-х годах в Военном институте оружейной техники.


CAWA-1

Первым типом керамической брони является CAWA-1. Он был создан из одного слоя керамической плитки с фундаментом в виде бронированной стали, или арамидной ткани, выступающей в качестве разбрызгивателя. Задачей этой брони была защита легкобронированных машин от противотанковых винтовочных боеприпасов. Однако для того, чтобы определить, что лучше для брони для легкой бронетехники, было решено сравнить в качестве брони следующие керамические материалы:

- оксид алюминия (Al2O3; также известный как корунд и глинозем; плотность 3,73 г/см3),
- карбид кремния (SiC; карборунд; 3,2 г/см3),
- карбид бора (B4C; борокарбид; 2,39 г/см3),
карбид титанового кремния (Ti3SiC2; 4,46 г/см3),

Требования, установленные до CAWA-1:

- защита объекта от винтовочных боеприпасов до и в том числе 14,5 мм (в зависимости от толщины) при обстреле на минимальном расстоянии 100-200 метров
- защита транспортного средства от возгорания
- возможность установки дополнительного слоя брони на керамику, включая реактивную броню ERAWA
- возможность применения микроволнового поглотителя с краской
- высокая адгезия плитки базовой брони во избежание ссадин
- простота производства, сборки и эксплуатации
- поддержание его прочностных параметров минимум в 97% случаев при:

1) влажность воздуха до 98%
2) температура воздуха от -60 до +70° C
3) воздействие пониженного атмосферного давления, единичных механических ударов, магнитного поля, электрического поля, электромагнитного излучения, статического электричества и разрядов молний,
4) под водой на глубине до 5 метров в течение минимального часа
5. на срок эксплуатации не менее 15 лет с защитой от воды и коррозии

Испытания, проведенные на керамических типах, касались нескольких этапов, на которых для наиболее достоверных результатов снимали по каждому образцу от 3 до 10 раз.

Первым испытанием стали защитные возможности против 7,62-мм бронированной ракеты B-32 с использованием броневой стальной пластины толщиной 10 мм в качестве подложки для керамики.

Результаты показали, что наилучшую защиту обеспечивали пластины толщиной 8 мм Al2O3 и 7 мм Ti3SiC2 - для сравнения также тестируемые плитки SiC достигают предполагаемых возможностей при толщине 12 - 20 мм. Учитывая их плотность, отношение массы к поверхности было:

- 29,84 кг/м2 для Al2O3,
- 31,36 кг/м2 для Ti3SiC2
- 38,4 - 64 кг/м2 для SiC

Теоретически лучший результат был показан для глинозема, но для этого теста значение карбида титана и кремния оказалось немного хуже (толщина брони на 12,5% ниже с более высоким весом 5,1%).

Другое испытание было очень похоже, но единственное отличие состояло в защите брони от противотанковых боеприпасов. 12,7 мм. Там сравнительные возможности дополняются упомянутым в самом начале Борокарбидом. Результаты снова оказались лучшими для Al2O3 — керамическая пластина из этого оксида обеспечивала защиту от этих ракет уже при толщине 10 — 12 мм. Для сравнения для SiC и Ti3SiC2 она составляла 20 мм, а для B4C - 24 мм.

При боеприпасах 14,5 мм испытания ограничивались только пластинами из Al2O3, а результаты показали, что общая защита от этих ракет обеспечивает броню толщиной не менее 18 мм. Коэффициент габаритов составлял 1,7, а коэффициент массы — 3,44. Также по случаю боекомплекта этого калибра было проверено влияние толщины подложки (стальной броневой базы) на защитные возможности керамики. И было показано, что подложка существенно влияет на защитные возможности - для пластины толщиной 13,5 мм достаточно 8 мм керамики, чтобы избежать полного проникновения, а для пластины 8 мм ей уже нужно 15 мм Al2O3. Кроме того, с учетом использования пластин толщиной 15 мм, для пластин RHA толщины:

- Прости. 8 мм – только во избежание прокалывания брони,
- 10,5 мм - глубина кратера после пули составляет 5 мм
- 13,5 мм - глубина кратера 1 мм

Однако для угла 60 градусов можно избежать перфорации пластинами толщиной 4 мм (h = 10,5 и 13,5 мм) или 6 мм (h = 8 мм), а для пластин толщиной 8 мм, для пластины RHA:

- 8 мм - 7 мм глубина кратера
- 10,5 мм - 2 мм
- 13,5 мм - 1,5 мм

Из этого следует, что минимальная толщина стальной брони, при которой керамика начинает хорошо выполнять свою задачу, должна составлять 10 мм.

В заключение было показано, что CAWA-1 Коэффициенты эффективности по массе и толщине составили 2,6 и 1,25 для Al2O3 и 1,95 и 1,12 для Ti3SiC2 соответственно. Это означает, что керамическая броня (из глинозема в данном случае) в 2,6 раза легче и в 1,25 раза тоньше брони из броневой стали при эквивалентном уровне защиты. В случае 12,7 мм защиты боеприпасов коэффициенты глинозема были равны 4 и 2 соответственно.

CAWA-2

Другим аспектом керамики, выступающей в качестве брони, была защита основных танков от противотанковых боеприпасов, как кинетических, так и взрывчатых.

В то время (как и сейчас) наши бронетанковые войска базировались на танке Т-72, который использовал в качестве специальных патронов стеклянный текстолит и оксид кремния. Стеклянное волокно представляет собой ламинатный композит, который получают прессованием при высокой температуре слоев стекловолокна, пропитанных смолой (вероятно, фенольной). В 1960-х годах этот материал в качестве элемента брони был совершенно новым, но из-за плохих характеристик стекловолокна и прогресса материаловедения в использовании цветных материалов в броне этот материал быстро стал неэффективным. И по этой причине научно-исследовательским объектом стала многослойная керамическая броня, известная как CAWA-2.

Литература, доступная в то время, рекомендовала использовать двухслойные керамические модели в толстой броне, состоящие либо из двух слоев SiC, либо из слоя глинозема и слоя оксида циркония за ним, которые были обесценены слоем полимерной или арамидной ткани, задачей которой было захватить фрагменты, образованные дроблением керамической плитки. Другим вариантом было использование многослойных систем, где первым слоем был оксид алюминия, а следующий слой включал другую керамику.

Однако на основе работы по CAWA-2 можно сделать вывод, что было решено пойти немного другим путем. Нельзя исключать, что в нем использовалась многослойная слайд из двух слоев разных керамических материалов, причем первый слой должен быть керамики высокой твердости, а второй - мягкой керамики (т.е. низкой твердости).

Но почему доспехи должны быть так сделаны?

Предполагалось, что задача первого слоя, выполненного из твердой керамики, состояла в том, чтобы уничтожить пулю, проникающую в броню, а второго слоя (мягкая керамика) — остановить деформированную пулю. По этой причине сочетание преимуществ глинозема и карбида кремния или оксида циркония считалось своеобразным «opus magnum». В ходе исследований было обнаружено, что еще одним не менее хорошим мягким керамическим материалом является карбид титан-кремний (Ti3SiC2), но он не производится до сих пор в количествах, позволяющих использовать его для целей, отличных от лабораторных испытаний. Но придумает ли кто-нибудь новый, гораздо более эффективный состав слоистой керамической брони? Посмотрим.


Суть керамической брони - слоистая и градиентная

Возвращаясь к предмету, еще одним важным аспектом является значение волнового импеданса используемых материалов, поскольку чем больше различия между материалами, тем больше проникновение имеет тенденцию терять кинетическую энергию при прохождении между слоями брони, что можно наблюдать, наблюдая «грибки» в кратере проникновения. Поэтому важно чередовать использование различных материалов в слоистой броне.

Кроме того, в ходе исследований было показано, что слоистая керамическая броня гораздо меньше нагревается и лучше охлаждается, чем монолитная броня — стальная или керамическая. Это играет очень важную роль в защите брони от множественных попаданий, где высокая температура рабочей брони оказывает положительное влияние на проникновение противотанковой ракеты (т.е. наносит ущерб обороняющемуся). Однако, кстати, не секрет, что керамика является хорошим теплоизолятором, который WITU использует в реактивной броне ERAWA. В результате польская броня в отличие от советских, российских и украинских решений гораздо менее чувствительна к работе тандемных предшественников накопительных головок, а также к некоторым осколочно-штурмовым ракетам.

CAWA-2 был разработан специально для того, чтобы служить особым вкладом в броню основных основных танков - в этом случае он был связан с проектированием танка PT-97, запланированным Mechanical Swans, для окончательной модернизации Hard Tanks, а также для реализации в польском проекте поколения MBT III под названием Goryl and Gepard (не путать с более поздним 35-тонным).

Для этой цели дополнительное требование было размещено перед CAWA-2, кроме тех, которые соответствуют требованиям CAWA-1. танковая защита от кинетических противотанковых ракет до 550-600 мм RHA (каль. 105 - 125 мм боеприпасы) и перед тепловыми боеприпасами с прорывом до 1000 мм RHA. С другой стороны, уточнялось, что при сборке CAWA-2 в качестве базовой брони ОБТ первый стальной слой должен иметь твердость мин. 500 ГБ и переборки, в которые будет помещена керамическая броня, должны иметь твердость прибл. 300 ГБ.


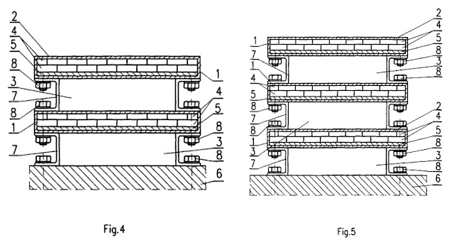
Концепция слоистой керамической брони Адама Вишневского, 1992
Керамические плитки в несколько слоев должны были быть включены в сварные (а) или литые (б) кассеты для закаливания брони.
Очень вероятно, что это было построено (по крайней мере, первоначально) CAWA-2.


В результате дальнейшей работы керамическая часть должна состоять из нескольких слоев плитки толщиной 20 мм. Почему они такие тонкие?

Именно здесь способ, которым работает керамическая броня, играет важную роль. Как только пуля соприкасается с бронированной керамикой, плитка начинает трескаться. Но растрескивание не противоречит непосредственным появлениям — время между началом процесса проникновения и началом процесса растрескивания засчитывается в микросекунды. Как показано экспериментально, по мере того, как керамика начинает трескаться, ее защитные свойства со временем начинают резко падать. Таким образом, цель технологии заключается в разработке таких плиток, которые не начинают ломаться до того, как они полностью проникнуты снарядом или полностью проникнуты, может произойти в течение небольшого периода времени с начала дробления керамической плитки. Чтобы узнать, когда плита расколется, нужно знать три основных компонента, ответственных за это:

- размер керамической плиты (наиболее важна меньшая длина или ширина плитки)
- значение скорости звука в керамической плитке
- скорость, с которой пуля попадает в керамическую пластину;

Проблема заключается в оптимизации размера керамической плитки. Слишком маленькая тарелка начнет ломаться слишком быстро, как пуля попадает. Слишком большая пластина покроет слишком большую поверхность, а ее защитные возможности будут ослаблены сразу после первого попадания. И оба оказывают негативное влияние на возможности керамической брони. Как показали испытания в 2005 году, это если пластина габаритов 50 x 50 мм показывает среднюю эффективность толщины на уровне 1565Так много пластин с размерами 100 x 100 мм при одинаковой толщине (т.е. 10 мм) обеспечивает эффективность на уровне 1679что означает увеличение 7,3%. Вторым измеренным параметром стала глубина выпуклости стальной пластины, которая является основой для керамических кубов - в плитках 50 x 50 x 50 означать 4,08 мми для тромбоцитов 100 x 100 x 100 Это было 0,59 мм. Одновременно с плиткой 50 x 50 x 50 в 6 из 22 Испытуемые лодыжки были перфорированы броней, а это означало, что необходимые задачи - для сравнения в случае плитки 100 x 100 x 100 Это просто случилось. один В таком случае ( 21 испытательные лодыжки, точно в тарелке из материала худший параметров.

Кроме того, важно расположить отдельные слои керамической плитки «на вкладке». В случае линейного расположения в доспехах места будут казаться ослабленными в пространствах между керамическими пластинами, и в таких местах защитные возможности брони могут упасть даже при помощи брони. 30%.

Но CAWA-2 не нужно использовать исключительно в качестве специального патрона в базовой броне ОБТ, но он также может быть использован (аналогично CAWA-1) в качестве легко разобранной дополнительной брони. И три разные идеи были запатентованы для строительства дополнительных бронекассет, таких как CAWA-2.

Первая идея — патент PL 181177 B1 от 10 сентября 1996 года, о котором было сообщено ВИТУ.




В его рамках броня должна была быть одной кассетой, тесно прилегающей к брони, которая состояла из пяти слоев. Первым и последним слоем брони стал стальной корпус кассеты, внутри которого находились два слоя керамики, а пространство между корпусом и первым слоем керамики было заполнено материалом, смесью тонких керамических элементов, высокопрочного бетона и клея. Этот материал использовался в броне для заполнения зазоров, а значит, для застывания конструкции брони, препятствуя способности перемещать керамические слои, при этом повышая устойчивость патронов к попаданиям пуль. С другой стороны, вопрос об объединении кассет из брони основной боевой машины не был полностью решен для того, чтобы приклеить поверхность наружных кассет и брони друг к другу — авторы предложили четыре решения по этому вопросу:

- первым было комбинировать кассеты с использованием теник, выступая в качестве гидов.
- вторым было использование перфорированной пластины, расположенной между кассетой и базовой броней и соединяющей кассеты с пластиной с помощью винтов
- третьим был ленточный зажим с использованием рыболовов
- четвертым стало использование кронштейнов, прикрепленных к патронам и основной брони

Вторая идея — патент PL 183721 B1 от 26 сентября 1997 года, о котором уведомил Университет АГХ. При этом идея создания кассет была решена быть похожей на ту, что уже обсуждалась в серии реактивной брони ERAWA.


По сравнению с предыдущим вариантом, большим преимуществом является облегчение процесса производства кассет путем репликации конструкции брони ERAWA. Для того чтобы кассета CAWA-2 была как можно ближе по размеру и структуре к своему взрывоопасному эквиваленту, корпус должен был бы иметь одинаковые размеры и конструкцию (размеры 150 х 150 х 46 мм; изготовлен из стальных панелей толщиной 5 мм и твердостью 500 НВ) и должен быть установлен на базовую броню с идентичными катушками 30-50 мм от поверхности. В то же время для снижения себестоимости производства также керамических элементов желательно использовать керамические слои толщиной, аналогичные тем, которые используются в CAWA-1 и CAWA-2 в качестве вклада специальной основной брони. По этой причине толщина рекомендованного конструкторами одного слоя керамической плитки составляла от 8 до 20 мм.

Однако видно, что кассета CAWA-2 намного больше, чем ERAWA-2 - ее вероятные размеры по графике составляют 250 х 250 х 33 мм, в то время как толщина керамического слоя составляет в общей сложности 20 мм. Однако, поскольку это всего лишь визуальный рисунок, который должен описывать только конструкцию кассеты, не будет проблемой создать кассеты размером 150 х 150 х 46 мм и больше с размерами ~ 300 х ~ 300 х 46 мм, чтобы не было проблем с их использованием вместо брони ERAWA. Дополнительным преимуществом CAWA-2 в кассетной форме является возможность сочетать их со слоями (авторы предусмотрели возможность использовать до трех слоев кассет) и устанавливать на них реактивную броню. В результате CAWA-2 могла резко увеличить защитные возможности бронеавтомобиля, причём ограничения лежали исключительно на стороне бронеавтомобиля. Не исключено также, что уже тогда предлагалось использовать гораздо более крупные броневые модули, как в настоящее время используется в современных боевых машинах.

Третья идея исходит из патента PL 178940 B1 и на самом деле тесно связана с реактивной композитной броней CERAWA-1.


Кассета этого типа, в отличие от других, может считаться модульной, поскольку она была разработана для установки кубов ERAWA, CERAWA и CAWA. Кроме того, как видно, она была смонтирована иначе, чем базовая броня классических кубиков, так что дополнительная броня могла быть наклонена, и при этом увеличивалась ее эффективная толщина, даже на вертикальной броневой плите.

Двигаясь дальше, традиционным элементом работы брони были ее испытания на выносливость по предмету. Защита боеприпасов APFSDS. Требование включало защиту от 125-мм снаряда с проникновением 550 мм RHA и, вероятно, израильского M711 (производившегося позже в небольшой партии в Польше, а также известного как Pronit и Ryś).

Эти испытания проводились на броне CAWA-2 с 1994 по 1997 год. Для них были подготовлены три 1000 х 700 х 230 мм модели брони, где верхний стальной слой был прикреплен к остальной части модели 10 М20. Состав этих моделей официально неизвестен, но на основе остаточных данных можно сделать вывод, что композиция, состоящая из 60 мм RHA, шести слоев керамики толщиной 20 мм, каждый, попеременно с использованием оксида алюминия и карбида кремния, последний слой представляет собой пластину RHA 50 мм. Кроме того, эти модели были посажены на свидетельскую пластину, изготовленную из RHA размером 1000 х 1000 х 100 мм. Все было наклонено под углом 60°.

Результаты заключаются в следующем:



Почему существует такая разница в измерениях между моделями 1 и 2 и 3?

Ну, модель No1 была построена иначе, чем две другие модели, используя спинные стыки для объединения бронированных пластин, а не паховых стыков, как это было в моделях No 2 и 3.

Однако результаты испытаний брони CAWA-2 не отражают 100% возможностей, которые он мог дать для Т-72. Вероятно, это связано с другим составом брони по сравнению с тем, что досталось бы ОБТ, а также с тем, что для надежности испытаний модели были наклонены под углом 60°, а не 68°, как в советских танках. Кроме того, испытанные образцы брони CAWA-2 не подходили для немедленного применения в танковой броне. Для того чтобы это было возможно, необходимо было подстроить броню под размер, возможность защиты от множественных попаданий и безопасность экипажа внутри машины.

Но, с другой стороны, на основе испытаний теоретические защитные возможности CAWA-2 в дополнительном бронированном варианте (разновидность клетки). Принимая во внимание упомянутые выше соотношения массы и габаритов и предполагая, что мой броневой состав верен, это означает, что двухслойный керамический броневой патрон сам по себе может обеспечить защиту примерно 105 мм RHA под углом 60°. А учитывая удар брони, опирающейся на пробитие пули, это может быть эквивалентно 65 мм RHA под прямым углом или 130 мм RHA при 68°, что является приличным значением.

ПТ-91М Пендекар

В 1998 году (позже) было выявлено предложение об использовании брони CAWA-2 в рамках последующей модернизации PT-91 Hard Tanks. Первоначально замена брони предназначалась только для корпуса, где предлагалось использовать до 5 слоёв керамической брони вместо 2 слоёв текстолита. В связи с тем, что проблема замены патронов в литой башне (что технически не представляется возможным) не была предложена, броня CAWA-2, вероятно, не использовалась в польском PT-91 Tough, хотя нет 100% уверенности.

С другой стороны, неофициальные источники указывают, что почти наверняка эта броня использовалась в производстве новых хард-копий для малайзийской армии, также известной как ПТ-91М Pendecar. Жесткая броня была также предложена, по крайней мере, для Перу и Колумбии почти 10 лет назад. Официально не было раскрыто, из чего были изготовлены передняя броня корпуса и башня Пендекара, но на основании имеющейся информации как по CAWA-2, так и по Т-72М1 можно заподозрить, что в корпусе Маладжи была размещена 100% керамическая броня, но не так уверен в своей башне, где большинство источников поддерживают песчаные патроны.

На основе имеющейся информации можно подсчитать, что эффективная толщина фронтального фюзеляжа Т-72 с патронами CAWA-2 может составлять от 600 до 700 мм RHA по отношению к боеприпасам APFSDS, причем наиболее вероятное (хотя я думаю, немного завышенное) значение составляет 670 мм RHA. Однако это только мои догадки, основанные на данных, которые были источником этой статьи, поэтому я не исключаю, что они будут ложными.

С другой стороны, надо сожалеть, что в 1989 году мы не купили у Советов лицензию на Т-72С (экспортный вариант Т-72Б), которую они нам предложили. Потенциал модернизации Объекта 172М-Е8 намного больше, чем предлагает Объект 172М-Е5, потому что броневые патроны специальной башни во время процесса литья башни завалены сталью, а в Т-72С эти патроны приварены к уже отлитой башне. Эффект заключается в том, что если вы хотите обменять броневые патроны в Т-72М1, то нужно заменить всю башню, а в Т-72С нужно просто снять сварные швы, соединяющие патроны с остальной башней.

Резюме

Можно отметить, что вся материальная инженерия, задействованная в разработке цветной брони, работает над решениями, которые не ограничивались бы бронированием основных танков, но и эффекты этой работы также могут быть использованы для защиты более легких военных машин, солидных подкреплений, а также защиты личных солдат. Обсуждаемая здесь керамика идеально подходит для всех упомянутых решений и иногда может взять на себя большую часть ответственности за защиту данного объекта от сплавов железа.

Вот что показывает CAWA. Его разработка была нацелена на три пути - защита легкой и средней бронетехники в качестве дополнительной брони, защита небронированной техники с аналогичной конструкцией и защита тяжелобронированной техники как основного компонента, так и дополнительного компонента брони. Это позволило керамической плитке служить как бронетехникой PT-91M, так и бронетехникой пехоты (BWP-1, KTO Rosomak, KTO Ryś и другие) или небронированной (пропеллеры).

Однако проблема заключается в том, что исследования по разработке материалов, используемых в оборонных целях, должны продолжаться и оказывать любое воздействие. Между тем, фонды исследований и разработок зачастую недостаточны, а значит, от исследований или могут отказаться из-за недофинансирования проекта (примером является польский проект ASOP), а последствия существующих работ могут быть потеряны или исследования могут быть достаточно медленными, чтобы иностранная конкуренция начала "бегать" от нас с технологической разработкой продукта. И в итоге это либо насмешка над отечественным продуктом, либо полное забвение.

В настоящее время, однако, необходимо поддержать еще одну польскую композитную броню, которая содержит, среди прочего, керамические элементы и которая станет основным элементом боевой брони машин пехоты «Борсук». Но об этом будет сказано в другой статье.

Библиография

Адам Вишневский, Пансеры: строительство, дизайн и исследования. Варшава 2001
Адам Вишневский, Керамические материалы в защитных слоях, Зеленый 1998
- Войцех Лукасик, Защитные свойства крупной керамики из корунда: докторская диссертацияКраков 2005
- Михал Лопачинский, Ежи Лис, Материалы градиентного керамического слоя для антибалистических применений, Poland Ceramics 2002: materials of the second international conference Spala 20-22 May 2002, pp. 342-349, Kraków 2002
Адам Вишневский, Однослойная и многослойная керамическая панель, Polish Ceramic Bulletin No 3, pp. 255-261, Kraków 1992
Читать всю статью